A cada dia mais difundidas na indústria automotiva, as telas digitais estão cada vez mais tecnológicas e repletas de recursos, que envolvem desde as funções dos veículos até os sistemas de entretenimento e navegação. Alguns modelos já possuem mais de uma tela, com diferentes diâmetros e níveis de resolução, mas a Hyundai decidiu inovar com o registro de patente de um display instalado no volante, no lugar onde normalmente ficam a buzina e o airbag do motorista.

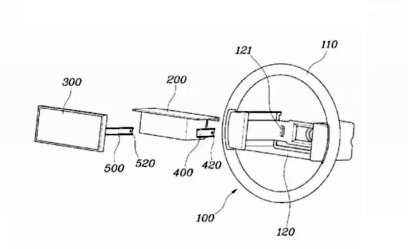
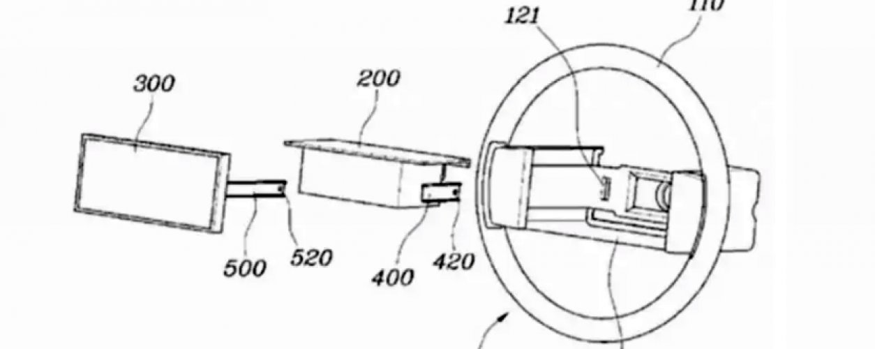
Os desenhos, registrados na Alemanha, mostram uma tela centralizada que, supostamente, mostraria informações do carro ao motorista. No entanto, a marca não divulgou detalhes sobre o diâmetro desse visor e suas funcionalidades.
Outra dúvida é se a invenção afetaria a segurança do condutor em caso de acidente. Segundo a patente, o airbag funcionaria da mesma maneira que nos volantes convencionais. A bolsa inflável ficaria alojada atrás da tela e, em caso de acionamento em uma colisão, seria projetada para o interior do veículo através de um nicho.

Entretanto, o registro de uma patente não significa que a montadora pretende incluir determinada tecnologia em seus veículos. Em alguns casos, a empresa realiza o procedimento para resguardar os direitos dos componentes.
Não é a primeira vez que a Hyundai apresenta um volante com tela sensível ao toque. Em 2019, a marca mostrou o conceito Genesis Mint, que projetava as informações em um display instalado no centro da direção.