Para a indignação dos fãs mais puristas, a Ferrari registrou nos Estados Unidos as patentes do protótipo do primeiro carro elétrico de sua história. Prometido desde 2019, a Ferrari elétrica no entanto, não deverá ser revelado antes de 2025.
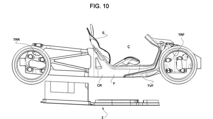
Chamado de "carro esportivo elétrico ou híbrido", o projeto divulgado pelo taycanforum.com revela um cupê com motor central traseiro, posicionado logo atrás dos bancos do motorista e do passageiro. As baterias, instaladas no assoalho, aparentemente são menores que as usadas na maioria dos carros eletrificados atuais.
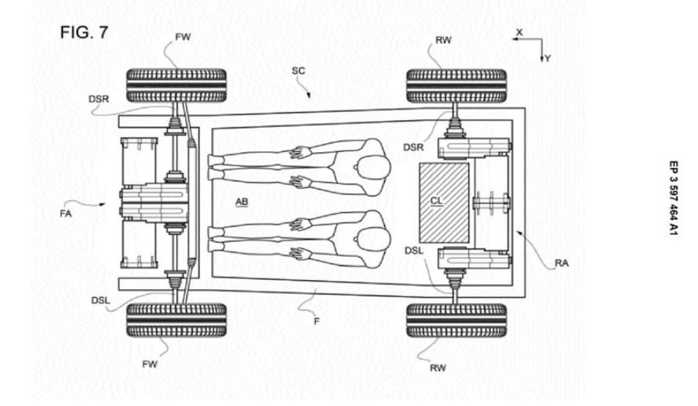
Um desenho com vista superior, por sua vez, mostra uma estrutura com quatro motores elétricos (um em cada roda) para uma configuração de tração integral. Além de mover o carro, esse conjunto também permitiria um nível de calibração do sistema de vetorização de torque mais preciso que o dos modelos a combustão.
Algumas figuras mostram que a estrutura do carro poderia ser aplicada em modelos diferentes, como se fosse uma plataforma capaz de ser compartilhada entre carros elétricos e híbridos. Já o motor poderia ser instalado em diferentes posições, de acordo com o projeto.
Já a traseira da Ferrari elétrica foi desenhada para abrigar uma bateria de maior capacidade e, ainda por cima, produzir o efeito de força descendente (downforce) e, consequentemente incrementar a estabilidade do esportivo em altas velocidades. O desenho ainda prevê o aproveitamento de fluxo de ar que passa pelo difusor traseiro para resfriar a bateria com o carro em movimento.
As patentes possuem anotações que indicam como a Ferrari pretende utilizar o projeto: "todos os tipos de células, ou seja, células cilíndricas, prismáticas ou em bolsa, podem ser adotadas". "O fato de as baterias instaladas no assoalho serem cilíndricas não significa que a bateria traseira também seja composta por células cilíndricas", segundo a marca italiana.
Apesar dos detalhes apresentados nas patentes, os desenhos podem não revelar as linhas definitivas do carro. Geralmente, os detalhes de design e técnicos são mostrados às vésperas do lançamento.
Rumores da imprensa estrangeira apontam que a Ferrari investe na eletrificação para desenvolver o novo SF90, um hiperesportivo que combinaria o motor V8 biturbo a gasolina a três propulsores elétricos para gerar cerca de 1.000 cv de potência.



Email enviado com sucesso!