A Ford confirmou, por meio de vídeo divulgado em setembro passado, a produção da F-150 elétrica. No entanto, o fabricante não deu maiores detalhes sobre a nova variante da picape grande. Agora, porém, imagens da patente do modelo vazaram nas redes. E elas trazem informações relevantes.

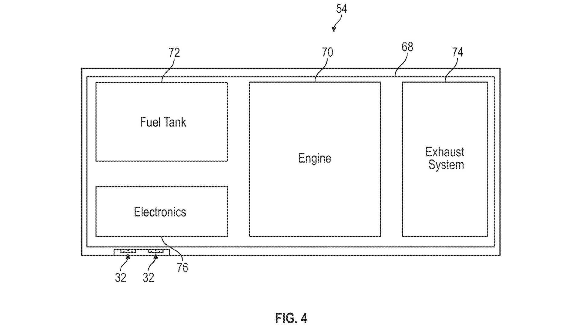
De acordo com os esboços, originalmente publicados pelo The Drive, a picape poderá se valer de um extensor de autonomia "removível e intercambiável". O registro foi submetido pela Ford ao Escritório de Patentes e Marcas dos Estados Unidos, em abril de 2018.
Uma das figuras indica que o extensor ficaria posicionado na caçamba da F-150, devidamente "disfarçado" como uma caixa de ferramentas - o que também facilitaria sua retirada. Boa notícia para proprietários de um veículo afeito ao trabalho.

Infelizmente, a descrição da patente não revela muito mais sobre o extensor de autonomia e o motor que seria agregado. Vale lembrar que o menor propulsor produzido pela Ford atualmente é o 1.0 EcoBoost de três cilindros.
Segundo a marca, a F-150 EV terá mais potência e torque do que todas as outras versões da picape disponíveis no mercado – cortesia dos motores elétricos duplos. Também terá, ainda de acordo com o fabricante, maior capacidade de reboque.
Para produzir a F-150 elétrica, a Ford afirmou ter investido US$ 700 milhões (R$ 3,96 bilhões em conversão direta - cotação de 1/10) em seu complexo localizado em Dearborn, nos Estados Unidos. De lá também sairá a versão híbrida, equipada com motor 3.5 conectado a um elétrico.
